Microchip Technology ENC624J600 ENC Ethernet Controller
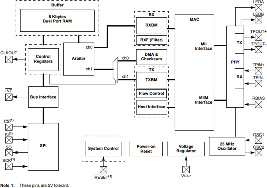
Microchip Technology ENC624J600 ENC Ethernet Controller is a low-cost stand-alone 10/100 Base-T Ethernet interface controller with integrated MAC and PHY, hardware cryptographic security engines, and a factory preprogrammed unique MAC address. A 24Kbyte on-chip RAM buffer is available for TX and RX operations. The Microchip ENC624J600 is offered with an industry standard Serial Peripheral Interface (SPI) or a flexible parallel interface. This device is designed to serve as an Ethernet network interface for any microcontroller equipped with SPI or a standard parallel port. The Microchip ENC624J600 Controller enables designers to create secured network- and Internet-connected embedded applications with minimized board space, cost, and complexity.Features
- IEEE 802.3™ Compliant Fast Ethernet Controller
- Integrated MAC and 10/100Base-T PHY
- Hardware Security Acceleration Engines
- Factory Preprogrammed Unique MAC Address
- Supports one 10/100Base-T Port with Automatic Polarity Detection and Correction
- Supports Auto-Negotiation
- Support for Pause Control Frames, including Automatic Transmit and Receive Flow Control
- Supports Half and Full-Duplex Operation
- Programmable Automatic Retransmit on Collision
Security Engines
- High-performance, modular exponentiation engine with up to 1024-bit operands
- Supports RSA® and Diffie-Hellman key exchange algorithms
- Fast MD5 hash computations
- Fast SHA-1 hash computations
Development Tools
Block Diagram
Published: 2009-08-19
| Updated: 2022-03-11
