Texas Instruments ADC08DJ3200 8-Bit RF-Sampling ADCs
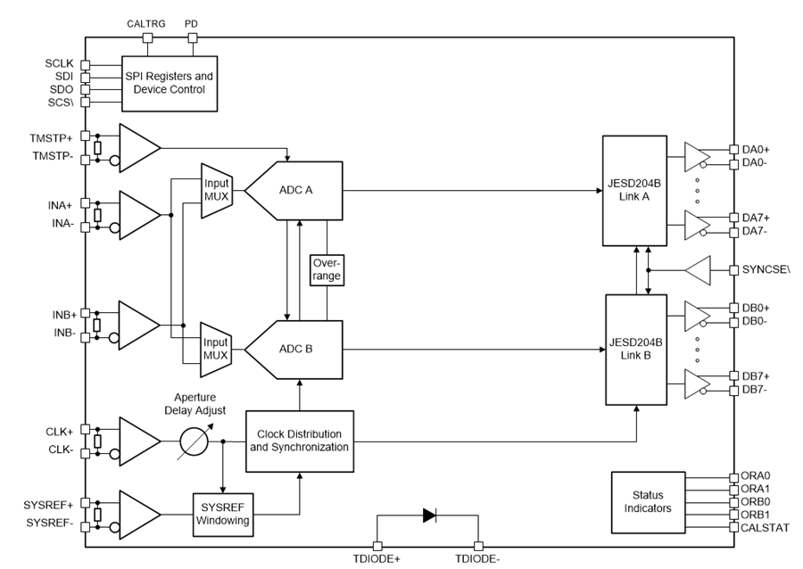
Texas Instruments ADC08DJ3200 8-Bit, Dual 3.2GSPS or Single 6.4GSPS, RF-Sampling Analog-to-Digital Converters (ADC) directly sample input frequencies from DC to above 10GHz. The device offers dual-channel (up to 3200MSPS) and single-channel (up to 6400MSPS) modes. The Texas Instruments ADC08DJ3200 meets the demand of both high channel count or wide instantaneous signal bandwidth applications using programmable tradeoffs in channel count and Nyquist bandwidth which allows development of flexible hardware. In both dual- and single-channel modes with usable frequencies exceeding the –3dB point, using full-power input bandwidth (–3dB) of 8.0GHz, allows direct RF sampling of L-band, S-band, C-band, and X-band for frequency agile systems. The device uses JESD204B Serial Data Output Interface with a maximum lane rate of 12.8Gbps, and a reduced lane rate of 3.125Gbps is allowed on up to 16 lanes. System design is streamlined for phased array radar and MIMO communications through innovative synchronization features such as noiseless aperture delay (TAD) adjustment and SYSREF windowing.Features
- ADC core
- 8-bit resolution
- Up to 6.4GSPS in single-channel mode
- Up to 3.2GSPS in dual-channel mode
- Performance specifications (fIN = 997MHz)
- ENOB: 7.8 Bits
- SFDR:
- Dual-channel mode: 67dBFS
- Single-channel mode: 62dBFS
- Buffered analog inputs with VCMI of 0V
- Analog input bandwidth (–3dB): 8.0GHz
- Usable input frequency range: > 10GHz
- Full-scale input voltage (VFS, default): 0.8VPP
- Analog input common mode (VICM): 0V
- Noiseless Aperture Delay (TAD) adjustment
- 19fs step precise sampling control
- Simplifies synchronization and interleaving
- Temperature and voltage invariant delays
- Easy-to-use synchronization features
- Automatic SYSREF timing calibration
- Timestamp for sample marking
- JESD204B serial data interface
- Supports subclass 0 and 1
- Maximum lane rate: 12.8Gbps
- Up to 16 lanes allow a reduced lane rate
- 2.8W power consumption
- 1.1V, 1.9V power supplies
Applications
- Satellite Communications (SATCOM)
- Synthetic Aperture Radar (SAR)
- Time-of-Flight and LIDAR distance measurement
- Oscilloscopes and wideband digitizers
- Microwave backhaul
- RF sampling Software-Defined Radio (SDR)
- Spectrometry
Functional Block Diagram
Published: 2018-04-11
| Updated: 2022-11-21
