Texas Instruments ADS7142/ADS7142-Q1 Programmable Sensor Monitors
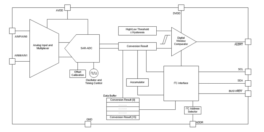
Texas Instruments ADS7142/ADS7142-Q1 Nanopower, Dual-Channel, Programmable Sensor Monitors optimize system power, reliability, and performance. The ADS7142/ADS7142-Q1 is a standalone Nanopower Sensor Monitor with a small form-factor ideal for cost-sensitive designs. The device autonomously monitors signals at 900nW and offers efficient host sleep and wake-up. Event-triggering interrupts per channel are administered on the ADS7142/ADS7142-Q1 using a digital windowed comparator with programmable high and low thresholds, hysteresis, and event counter. The Sensor Monitor comprises a dual-channel analog multiplexer in front of a successive approximation register analog-to-digital converter (SAR ADC). This monitor is followed by an internal data buffer with a one-shot mode for converting and capturing sensor data.Data analysis runs deep with 16-bit accuracy in high-precision mode, buffering for fault diagnostics, and one-shot mode for fast data capture. The ADS7142/ADS7142-Q1 provides a wide operating range of 1.65V to 3.6V and is available in a 10-pin QFN package. This device is excellent for space-constrained and/or battery-powered applications due to its small form factor and low power consumption. The Texas Instruments ADS7142-Q1 devices are AEC-Q100 qualified for automotive applications.
Features
- Efficient host sleep and wake-up
- Autonomous monitoring at 900nW
- Windowed comparator for event-triggered host wake-up
- Data buffering during host sleep
- Independent sensor configuration and calibration
- Dual-channel, pseudo-differential, or ground-sense input configuration
- Programmable thresholds for calibration
- Internal calibration improves offset and drift
- False trigger prevention
- Programmable thresholds per channel
- Programmable hysteresis for noise immunity
- Event counter for transient rejection
- Standalone, nanopower sensor monitor for cost-sensitive designs
- 1.5mm x 2mm small package size
- Deep data analysis
- Data buffer for fault diagnostics
- High precision mode for 16-bit accuracy
- One-shot mode for fast data capture
- I2C™ interface
- Compatible from 1.65V to 3.6V
- Eight configurable addresses
- Up to 3.4MHz (high speed)
- Wide operating range
- 1.65V to 3.6V analog supply
- –40°C to 125°C temperature range
Applications
- Sensor nodes for the Internet of Things (IoT)
- Gas, heat, PIR motion, and smoke detectors
- Preventive maintenance for elevators, escalators, HVAC, industrial equipment, and so forth
- Wearable electronics
- Zero cross-detection for fault indicators
- Supervisory functions
- Comparator with programmable reference
- Sensors for deep learning artificial intelligence
Datasheet
Functional Block Diagram
Published: 2018-02-08
| Updated: 2022-10-27
